ரைச்சென் முத்திரைகள் உருவாக்கக்கூடிய சீல் தயாரிப்புகளில் ஹைட்ராலிக் தூசி முத்திரைகள் ஒன்றாகும். இந்த வகை தயாரிப்பில் நீங்கள் வெவ்வேறு மாதிரிகளைப் பற்றி அறியலாம் மற்றும் கட்டமைப்பு சேர்க்கைகளையும் செய்யலாம். தேவைப்பட்டால், நீங்கள் உதவி அல்லது தனிப்பயனாக்கப்பட்ட தீர்வுகளுக்காக எங்களைத் தொடர்பு கொள்ளலாம் அல்லது மாதிரி புத்தகத்தைப் பெற எங்களை தொடர்பு கொள்ளலாம்.
ஆர்.சி.எஃப் 01 மற்றும் ஆர்.சி.எஃப். PTFE வளையத்தின் உடைகளுக்கு ஈடுசெய்ய ஓ-ரிங் முன் ஏற்று சக்தியை வழங்குகிறது. RCF01 தூசி நிறைந்த அல்லது குளிர்ந்த சூழல்கள் மற்றும் உயர் அதிர்வெண் பரஸ்பர இயக்கம் போன்ற கனரக சந்தர்ப்பங்களுக்கு ஏற்றது. பிளவு பள்ளங்கள் 30 மி.மீ க்கும் குறைவான தண்டு விட்டம் பயன்படுத்தப்பட வேண்டும். RCF02 பரஸ்பர இயக்கம், ஸ்விங் அல்லது சுழல் இயக்க நிலைமைகளுக்கு ஏற்றது.
RCF03 என்பது ஒரு வழி தூசி வளையமாகும், இது PTFE பொருள் மற்றும் O- வடிவ ரப்பர் வளையத்தால் நிரப்பப்பட்ட ஒற்றை-உதடு தூசி ஸ்கிராப்பர் வளையத்தால் ஆனது. அதன் செயல்பாடு தூசியைத் துடைப்பதும், கணினி மாசுபடுவதைத் தடுப்பதும் ஆகும். இயக்கம், ஸ்விங்கிங் அல்லது சுழல் இயக்க நிலைமைகளுக்கு இது பொருத்தமானது.
ஆர்.சி.எஃப் 04 மற்றும் ஆர்.சி.எஃப். இது நீண்ட ஆயுள், குறைந்த உராய்வு, பாகுத்தன்மை இல்லை மற்றும் அதிக நம்பகத்தன்மை ஆகியவற்றின் பண்புகளைக் கொண்டுள்ளது. RCF04 முக்கியமாக விவசாய இயந்திரங்கள், ஹைட்ராலிக் அச்சகங்கள், ஊசி மருந்து வடிவமைத்தல் இயந்திரங்கள், ஹைட்ராலிக் கட்டுப்பாட்டு அமைப்புகள், ஃபோர்க்லிஃப்ட்ஸ், ரோலிங் மெஷின்கள், கிரேன்கள் மற்றும் ஏற்றுதல் மற்றும் இறக்குதல் இயந்திரங்களில் பயன்படுத்தப்படுகிறது. RCF05 முக்கியமாக ஹைட்ராலிக் அச்சகங்கள், ஊசி மருந்து வடிவமைத்தல் இயந்திரங்கள், உருட்டல் இயந்திரங்கள், உலோகவியல் இயந்திரங்கள் போன்றவற்றில் பயன்படுத்தப்படுகிறது. இது பெரிய விட்டம் கொண்ட பிஸ்டன் தண்டுகளின் தூசி துளைக்காத முத்திரைகளுக்கு மிகவும் பொருத்தமானது.
டி.எச்.எஸ் தூசி வளையம் இரட்டை-செயல்பாட்டு தூசி வளையமாகும், இது நல்ல தூசி நிறைந்த விளைவு மற்றும் சில சீல் எண்ணெய் திரைப்பட செயல்பாடு இரண்டையும் கொண்டுள்ளது. பொருட்கள் உயர் செயல்திறன் கொண்ட பாலியூரிதீன், நைட்ரைல் ரப்பர் மற்றும் ஃப்ளோரோரோபர் ஆகும்.
ஹைட்ராலிக் சிலிண்டர் பிஸ்டன் தண்டுகள் அல்லது வால்வு தண்டுகளை பரிமாறிக்கொள்ள ஜே-வடிவ மற்றும் ஜேஏ வடிவ பயன்படுத்தப்படுகின்றன. பொருட்கள் பாலியூரிதீன் (TPU/CPU) மற்றும் ரப்பர். பள்ளங்கள் மற்றும் தயாரிப்பு பரிமாணங்கள் மற்றும் சகிப்புத்தன்மை JB/T6657-93 மற்றும் JB/T6656-93 உடன் இணங்குகின்றன.
வெளிப்புற மாசுபடுத்திகள் ஹைட்ராலிக் அமைப்பு மற்றும் சீல் அமைப்பில் கலப்பதைத் தடுக்க தூசி மோதிரம் ஜிஎஸ்எம் பயன்படுத்தப்படுகிறது, மேலும் ஹைட்ராலிக் எண்ணெயை வெளியில் கசியாமல் மசகு அமைப்புக்கு திருப்பித் தரலாம், இது துணை முத்திரையின் விளைவைக் கொண்டுள்ளது. பொருட்கள் நைட்ரைல் ரப்பர், ஃப்ளோரோரோபர் மற்றும் பாலியூரிதீன்.
ஹைட்ராலிக் அமைப்பு மற்றும் சீல் அமைப்பில் மாசுபடுத்திகள் கலப்பதைத் தடுக்க ஜிபி 1 மற்றும் ஜிபி 6 தூசி மோதிரங்கள் பயன்படுத்தப்படுகின்றன. பொருள் நைட்ரைல் ரப்பர் என்.பி.ஆர், மற்றும் ஃப்ளோரோரூப்பர் எஃப்.கே.எம் அதிக வெப்பநிலையில் தேர்ந்தெடுக்கப்படுகிறது. பெரிய விட்டம் கொண்ட பிஸ்டன் தண்டுகளின் தூசி நிறைந்த சீல் செய்ய ஜிபி 6 முக்கியமாக பயன்படுத்தப்படுகிறது.
ஹைட்ராலிக் சிலிண்டருக்குள் நுழைவதைத் தடுக்க AF வகை தூசி வளையம் பயன்படுத்தப்படுகிறது. நெகிழ் கூறுகளில் பதிக்கப்பட்ட வெளிப்புற அசுத்தங்களால் ஏற்படும் கீறல்களின் அபாயத்தைக் குறைக்கவும். டஸ்ட்ரூஃப் வளைய உதட்டின் சிறப்பு வடிவமைப்பு மூலம் சிறந்த தூசி நிறைந்த விளைவை அடைய முடியும். மோதிரம் வலுவான உடைகள் எதிர்ப்பு, சிறிய நிரந்தர சிதைவு மற்றும் வெளிப்புற இயந்திர தாக்கத்திற்கு எதிர்ப்பு ஆகியவற்றின் பண்புகளைக் கொண்டுள்ளது. சீல் செய்யும் பள்ளம் மற்றும் உலோகத்தின் வெளிப்புற விட்டம் இடையே குறுக்கீடு பொருத்தத்தைப் பயன்படுத்தி அச்சு திறந்த பள்ளத்தின் பொருத்தமான நிலையில் தூசி துளைக்காத வளையத்தை உறுதியாக நிறுவ முடியும். பொருத்தம் பறிப்பு, எனவே வெளிப்புற காரணங்களால் ஏற்படும் சேதத்திற்கு எதிராக உதடு மிகவும் பாதுகாப்பானது. ஒரு பொறியியல் கண்ணோட்டத்தில், AF வகை டஸ்ட்ரூஃப் வளையம் பொருத்தமான சிலிண்டர் தலை சீல் சாதனமாகும்.
தயாரிப்பு அம்சங்கள் மற்றும் பயன்பாடுகள்:
வரிசைப்படுத்தும் எடுத்துக்காட்டு:
ஆர்டர் மாதிரி RCF01-80-PTFE3-R01
RCF01-மாடல் 80-ஷாஃப்ட் விட்டம் PTFE3-GENERAL மாற்றியமைக்கப்பட்ட PTFE R01-பொருத்துதல் ரப்பர் பொருள் குறியீடு
நைட்ரைல் ரப்பர் (NBR)-R01 flororubber (FKM) -R02
ஆர்டர் மாதிரி RCF02-80-PTFE3-R01
RCF02-மாடல் 80-ஷாஃப்ட் விட்டம் PTFE3-UNIVERSAL மாற்றியமைக்கப்பட்ட PTFE R01-பொருத்துதல் ரப்பர் பொருள் குறியீடு
நைட்ரைல் ரப்பர் (NBR)-R01 flororubber (FKM) -R02
ஆர்டர் மாதிரி RCF03-80-PTFE3-R01
RCF03-மாடல் 80-ஷாஃப்ட் விட்டம் PTFE3-UNIVERSAL மாற்றியமைக்கப்பட்ட PTFE R01-பொருத்துதல் ரப்பர் பொருள் குறியீடு
நைட்ரைல் ரப்பர் (NBR)-R01 flororubber (FKM) -R02
ஆர்டர் மாதிரி RCF04-80-PTFE3-R01
RCF04-மாதிரி 80-தண்டு விட்டம் PTFE3-UNIVERSAL மாற்றியமைக்கப்பட்ட PTFE R01-பொருத்துதல் ரப்பர் பொருள் குறியீடு
நைட்ரைல் ரப்பர் (NBR) -R01 ஃப்ளோரோரோபர் (FKM) -R02
ஆர்டர் மாதிரி RCF05-80-PTFE3-R01
RCF05-மாடல் 80-ஷாஃப்ட் விட்டம் PTFE3-GENERAL மாற்றியமைக்கப்பட்ட PTFE RO1-பொருத்துதல் ரப்பர் பொருள் குறியீடு
நைட்ரைல் ரப்பர் (NBR) -R01 ஃப்ளோரோரோபர் (FKM) -R02
ஆர்டர் மாதிரி: DHS-1330*143*8/9.5-R01 D*D1*g/h
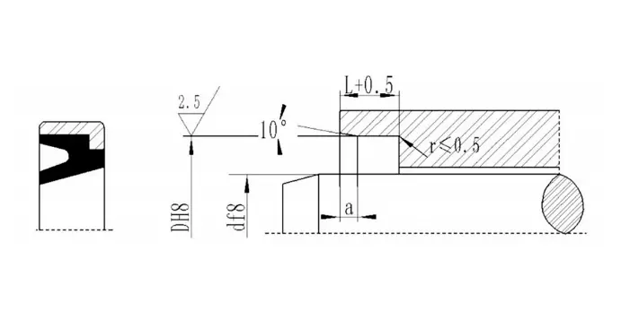
ஜே-வகை தூசி முத்திரை
ஜே.ஏ. வகை தூசி முத்திரை
ஜி.எஸ்.எம்
தூசி முத்திரை ஜிஎஸ்எம் ஆர்டர் எண்ணுடன் குறிக்கப்பட்டுள்ளது, எடுத்துக்காட்டு: ஜிஎஸ்எம் 4048 40-தண்டு விட்டம் டி 48-க்ரூவ் கீழ் விட்டம் டி
ஜிபி 1
குறிக்கும் எடுத்துக்காட்டு: GP1-70*82*4/8 MODEL-D*D*L/H.
ஜிபி 6
குறிக்கும் முறை: GP6-70*80.6*5.3/7 MODEL-D*D*L/H.
Of
டி.கே.பி.
விவரக்குறிப்புகள்
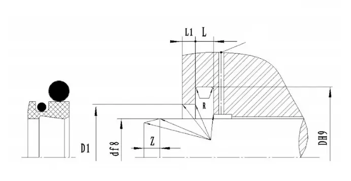
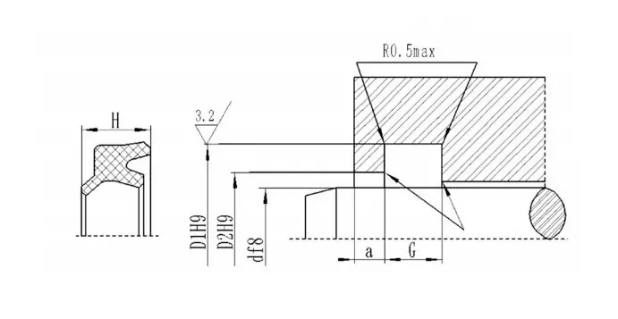
RCF01| தண்டு விட்டம் வரம்பு டி எஃப் 8 |
பள்ளம் விட்டம் டி எச் 9 |
பள்ளம் அகலம் L+0.2 |
திறந்த துளை விட்டம் D1எச் 11 | திறந்த துளை அகலம் a≥ |
வட்டமான மூலைகள் R≤ |
ஓ-ரிங் கம்பி விட்டம் dO |
| 19 ~ 39 | டி+7.6 | 4.2 | டி+1.5 | 3 | 0.8 | 2.65 |
| 40 ~ 69 | டி+8.8 | 6.3 | டி+1.5 | 3 | 0.8 | 2.65 |
| 70 ~ 139 | டி+12.2 | 8.1 | டி+2.0 | 4 | 0.8 | 3.55 |
| 140 ~ 399 | டி+16.0 | 9.5 | டி+2.5 | 5 | 1.5 | 5.30 |
| 400 ~ 649 | டி+24.0 | 14.0 | டி+2.5 | 8 | 1.5 | 7.00 |
| 650 ~ 1500 | டி+27.3 | 16.0 | டி+2.5 | 10 | 2.0 | 8.60 |
| தண்டு விட்டம் வரம்பு டி எஃப் 8 |
பள்ளம் விட்டம் டி எச் 9 |
பள்ளம் அகலம் L+0.2 |
திறந்த துளை விட்டம் D1எச் 11 | திறந்த துளை அகலம் a≥ |
வட்டமான மூலைகள் R≤ |
ஓ-ரிங் கம்பி விட்டம் dO |
| 4 ~ 11 | டி+4.8 | 3.7 | டி+1.5 | 2 | 0.4 | 1.80 |
| 12 ~ 64 | டி+6.8 | 5.0 | டி+1.5 | 2 | 0.7 | 2.65 |
| 65 ~ 250 | டி+8.8 | 6.0 | டி+1.5 | 3 | 1.0 | 3.55 |
| 251 ~ 420 | டி+12.2 | 8.4 | டி+2.0 | 4 | 1.5 | 5.30 |
| 421 ~ 650 | டி+16.0 | 11.0 | டி+2.0 | 4 | 1.5 | 7.00 |
| 651 ~ 1500 | டி+20.0 | 14.0 | டி+2.5 | 5 | 2.0 | 8.60 |
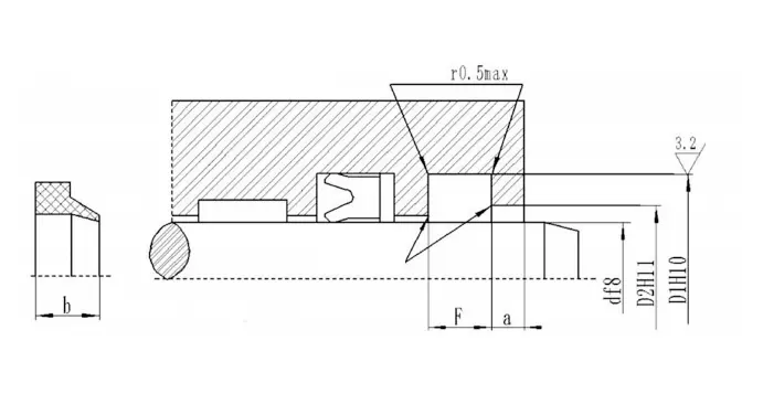
| தண்டு விட்டம் வரம்பு டி எஃப் 8 |
பள்ளம் விட்டம் DH9 |
படி விட்டம் டி 1 எச் 11 |
பள்ளம் அகலம் L+0.2 |
ஒட்டுமொத்த அகலம் எல் 1 |
வட்டமான மூலைகள் Rmax |
சேம்பர் நீளம் Zmin |
| 20 ~ 39.9 | டி+7.6 | டி+1 | 4.2 | 8.2 | 0.4 | 3 |
| 40 ~ 69.9 | டி+8.8 | டி+1.5 | 6.3 | 10.3 | 1.2 | 4 |
| 70 ~ 139.9 | டி+12.2 | டி+2.0 | 8.1 | 12.1 | 2 | 6 |
| 140 ~ 399.9 | டி+16.0 | டி+2.0 | 11.5 | 15.5 | 2 | 8 |
| 400 ~ 649.9 | டி+24.0 | டி+2.5 | 15.5 | 19.5 | 2 | 10 |
| 650 ~ 1000 | டி+27.3 | டி+2.5 | 18.0 | 23.0 | 2 | 12 |
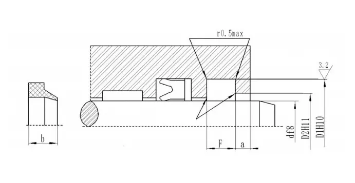
| தண்டு விட்டம் வரம்பு டி எஃப் 8 |
பள்ளம் விட்டம் DH9 |
படி விட்டம் டி 1 எச் 11 |
பள்ளம் அகலம் L+0.2 |
பக்க அகலம் எல் 1 |
வட்டமான மூலைகள் Rmax |
சேம்பர் நீளம் Zmin |
| 100 ~ 229 | டி+22.2 | டி+10.7 | 6.3 | 4.2 | 1.2 | 6 |
| 230 ~ 299 | டி+24.2 | டி+10.7 | 6.3 | 4.2 | 1.2 | 8 |
| 300 ~ 629 | டி+33.0 | டி+15.1 | 8.1 | 6.3 | 1.2 | 10 |
| 630 ~ 1000 | டி+36.5 | டி+15.1 | 9.5 | 6.3 | 2 | 12 |
| தயாரிப்பு எண் | d | டி 1 | H | G+0.3 | டி 2 | a |
| டி.எச்.எஸ் 12 | 12 | 20 | 6 | 5 | 16.3 | 2 |
| டி.எச்.எஸ் 14 | 14 | 22 | 6 | 5 | 18.3 | 2 |
| டி.எச்.எஸ் 16 | 16 | 24 | 6 | 5 | 20.3 | 2 |
| டி.எச்.எஸ் 18 | 18 | 26 | 6 | 5 | 22.3 | 2 |
| டி.எச்.எஸ் 20 | 20 | 28 | 6 | 5 | 24.3 | 2 |
| டி.எச்.எஸ் 22 | 22 | 30 | 6 | 5 | 26.3 | 2 |
| டி.எச்.எஸ் 25 | 25 | 33 | 6 | 5 | 29.3 | 2 |
| டி.எச்.எஸ் 28 | 28 | 36 | 6 | 5 | 32.3 | 2 |
| டி.எச்.எஸ் 30 | 30 | 38 | 6.5 | 6 | 34 | 2 |
| டி.எச்.எஸ் 32 | 32 | 40 | 6.5 | 6 | 36 | 2 |
| டி.எச்.எஸ் 35 | 35 | 43 | 6.5 | 6 | 39 | 2 |
| டி.எச்.எஸ் 38 | 38 | 46 | 6.5 | 6 | 42 | 2 |
| டி.எச்.எஸ் 40 | 40 | 48 | 6.5 | 6 | 44 | 2 |
| டி.எச்.எஸ் 45 | 45 | 53 | 6.5 | 6 | 49 | 2 |
| டி.எச்.எஸ் 48 | 48 | 56 | 6.5 | 6 | 52 | 2 |
| டி.எச்.எஸ் 50 | 50 | 58 | 6.5 | 6 | 54 | 2 |
| டி.எச்.எஸ் 55 | 55 | 63 | 6.5 | 6 | 59 | 2 |
| டி.எச்.எஸ் 56 | 56 | 64 | 6.5 | 6 | 60 | 2 |



























































முகவரி
No.1 Ruichen Road, Dongliuting Industrial Park, Chengyang District, Qingdao City, Shandong Province, China
டெல்
மின்னஞ்சல்