அழுத்தத்தின் செயல்பாட்டின் கீழ் குறைந்த அழுத்த பக்கத்தில் உள்ள இடைவெளியில் சீல் வளையத்தை அழுத்துவதைத் தடுக்க ஓ-ரிங் அல்லது ஸ்டார் ரிங் உடன் இணைந்து தக்கவைக்கும் வளையம் பயன்படுத்தப்படுகிறது. அழுத்தம் தொடர்ந்து அதிகரித்து வருவதால், சீல் வளையம் "வெளியேற்றத்தால்" சேதமடைந்து இறுதியில் முத்திரையிடத் தவறிவிடுகிறது. தக்கவைக்கும் வளையம் பயன்படுத்தப்பட்டால், சீல் வளையத்தின் "வெளியேற்றத்தை" தடுக்கலாம். எனவே, தக்கவைக்கும் வளையம் சீல் வளையத்திற்கு ஒரு துணை. இது ஒரு முத்திரை அல்ல, ஆனால் இது சீல் வளையத்தின் வேலை அழுத்த வரம்பை அதிகரிக்கிறது.
தக்கவைக்கும் வளையம் ஓ-ரிங்குடன் இணைந்து "வெளியேற்றத்திலிருந்து" அதைத் தடுக்கவும், ஓ-மோதிரத்தை திறம்பட பாதுகாக்கவும், அதன் சேவை வாழ்க்கையை அதிகரிக்கவும், பெரிய சீல் இடைவெளியை அனுமதிக்கவும், இதனால் செயலாக்க செலவுகளைக் குறைக்கவும் பயன்படுத்தப்படுகிறது.
தயாரிப்பு அம்சங்கள் மற்றும் பயன்பாடுகள்:
வளைய வடிவம் மற்றும் கட்டமைப்பு வகையைத் தக்கவைத்தல்
தொழில்நுட்ப தரவு
வேலை அழுத்தம்: நிலையான முத்திரை சுமார் 200MPA ஐ அடையலாம் (தக்கவைக்கும் வளையத்தின் பொருள் மற்றும் முத்திரை வகையைப் பொறுத்து), பரஸ்பர முத்திரை 40MPA ஐ அடையலாம். ஸ்விங்/மெதுவான வேக சுழற்சி சுமார் 15MPA ஐ அடையலாம்.
வேகம்: பரஸ்பர மற்றும் சுழற்சி சுமார் 2 மீ/வி (பொருளைப் பொறுத்து) அடையலாம்.
தரநிலைகளை வரிசைப்படுத்துதல்
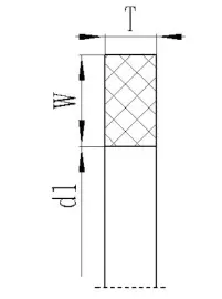
(1) T01 தொடர் தக்கவைக்கும் மோதிரங்கள் உள் விட்டம் D1, அகலம் W மற்றும் தடிமன் T.
எடுத்துக்காட்டு: T01-00356 D1: 3.56*W: 1.35*T: 1.23
(2) T02 தொடர் தக்கவைக்கும் மோதிரங்கள் உள் விட்டம் D1, அகலம் W மற்றும் தடிமன் A மற்றும் T.
எடுத்துக்காட்டு: T02-027 D1: 33.78*W: 1.35*A: 1.14*T: 1.24



முகவரி
No.1 Ruichen Road, Dongliuting Industrial Park, Chengyang District, Qingdao City, Shandong Province, China
டெல்
மின்னஞ்சல்