|
அழுத்தம்/MPa |
வெப்பநிலை / °C |
வேகம் /m/s |
நடுத்தர |
|
≤40 |
-35~+100 (NBR O- வளையத்துடன்) |
≤2 |
ஹைட்ராலிக் எண்ணெய், குழம்பு, நீர், எரிவாயு போன்றவை. |
|
-20~+200 (FKM O-ring உடன்) |
1. கிடைக்கும் O-ரிங் பொருட்கள்: R01 நைட்ரைல் புடாடீன் ரப்பர் (NBR), R02 ஃப்ளூரோரப்பர் (FKM) போன்றவை.
2. சீல் வளைய பொருட்கள்: நிலையான பொருட்கள் PTFE3 மற்றும் PTFE4; பிற விருப்பப் பொருட்களில் PTFE1, PTFE2 மற்றும் PTFE5 ஆகியவை அடங்கும்.
வரிசைப்படுத்தும் எடுத்துக்காட்டு
ஆர்டர் செய்யும் மாடல் RC2052—80x91×4.2—PTFE3—R01 Model-dxDxL- மெட்டீரியல் குறியீடு
ஆர்டர் செய்யும் மாடல் RCX17—80x91×4.2—HPU Model-dxDxL- மெட்டீரியல் குறியீடு
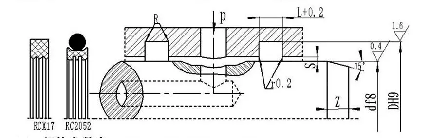
விவரக்குறிப்புகள் மற்றும் அளவுருக்கள் அட்டவணை (அளவுரு வரம்பிற்குள் ஏதேனும் விவரக்குறிப்புகள் கிடைக்கும்)
|
தண்டு விட்டம் வரம்பு d f8 |
அகழி விட்டம் DH9 |
அகழி அகலம் L+⁰.2 |
ரேடியல் கிளியரன்ஸ் ஸ்மாக்ஸ் |
வட்டமான மூலைகள் Rmax |
சேம்ஃபர் Zmin |
|
|
0~10 எம்பிஏ |
10~20 எம்பிஏ |
|||||
|
6~18 |
d+49 |
2.2 |
0.15 |
0.1 |
0.4 |
2 |
|
19~37 |
d+7.5 |
3.2 |
0.2 |
0.15 |
0.6 |
3 |
|
38~199 |
d+11.0 |
4.2 |
0.25 |
0.2 |
1.0 |
4 |
|
200~255 |
d+15.5 |
6.3 |
0.3 |
0.25 |
1.3 |
5 |
|
256~649 |
d+21.0 |
8.1 |
0.3 |
0.25 |
1.8 |
7 |
|
650~1500 |
d+28.0 |
9.5 |
0.45 |
0.3 |
2.0 |
8 |
குறிப்பு: தண்டு விட்டம் ≤ 30 மிமீ, திறந்த பள்ளங்கள் பரிந்துரைக்கப்படுகிறது.
|
d |
D |
L |
d |
D |
L |
d |
D |
L |
d |
D |
L |
|
8 |
12.9 |
2.2 |
48 |
59.0 |
4.2 |
150 |
161.0 |
4.2 |
350 |
371.0 |
8.1 |
|
10 |
14.9 |
2.2 |
50 |
61.0 |
4.2 |
160 |
171.0 |
4.2 |
360 |
381.0 |
8.1 |
|
12 |
16.9 |
2.2 |
55 |
66.0 |
4.2 |
170 |
181.0 |
4.2 |
370 |
391.0 |
8.1 |
|
14 |
18.9 |
2.2 |
60 |
71.0 |
4.2 |
180 |
191.0 |
4.2 |
380 |
401.0 |
8.1 |
|
15 |
19.9 |
2.2 |
63 |
74.0 |
4.2 |
190 |
201.0 |
4.2 |
390 |
411.0 |
8.1 |
|
16 |
20.9 |
2.2 |
65 |
76.0 |
4.2 |
200 |
215.5 |
6.3 |
400 |
421.0 |
8.1 |
|
18 |
22.9 |
2.2 |
70 |
81.0 |
4.2 |
210 |
225.5 |
6.3 |
420 |
441.0 |
8.1 |
|
20 |
27.5 |
3.2 |
75 |
86.0 |
4.2 |
220 |
235.5 |
6.3 |
450 |
471.0 |
8.1 |
|
22 |
29.5 |
3.2 |
80 |
91.0 |
4.2 |
230 |
245.5 |
6.3 |
480 |
501.0 |
8.1 |
|
24 |
31.5 |
3.2 |
85 |
96.0 |
4.2 |
240 |
255.5 |
6.3 |
500 |
521.0 |
8.1 |
|
25 |
32.5 |
3.2 |
90 |
101.0 |
4.2 |
250 |
265.5 |
6.3 |
520 |
541.0 |
8.1 |
|
28 |
35.5 |
3.2 |
95 |
106.0 |
4.2 |
260 |
281.0 |
8.1 |
550 |
571.0 |
8.1 |
|
30 |
37.5 |
3.2 |
100 |
111.0 |
4.2 |
270 |
291.0 |
8.1 |
600 |
621.0 |
8.1 |
|
32 |
39.5 |
3.2 |
105 |
116.0 |
4.2 |
280 |
301.0 |
8.1 |
630 |
651.0 |
8.1 |
|
35 |
42.5 |
3.2 |
110 |
121.0 |
4.2 |
290 |
311.0 |
8.1 |
650 |
678.0 |
8.1 |
|
36 |
43.5 |
3.2 |
115 |
126.0 |
4.2 |
300 |
321.0 |
8.1 |
670 |
698.0 |
9.5 |
|
38 |
49.0 |
4.2 |
120 |
131.0 |
4.2 |
310 |
331.0 |
8.1 |
700 |
728.0 |
9.5 |
|
40 |
51.0 |
4.2 |
125 |
136.0 |
4.2 |
320 |
341.0 |
8.1 |
750 |
778.0 |
9.5 |
|
42 |
53.0 |
4.2 |
130 |
141.0 |
4.2 |
330 |
351.0 |
8.1 |
800 |
828.0 |
9.5 |
|
45 |
56.0 |
4.2 |
140 |
151.0 |
4.2 |
340 |
361.0 |
8.1 |
1000 |
1028.0 |
9.5 |
குறிப்பு: தேவையான விவரக்குறிப்புகள் இங்கே பட்டியலிடப்படவில்லை; தயவுசெய்து எங்கள் நிறுவனத்தை தொடர்பு கொள்ளவும். அதிகபட்ச விட்டம் 2800 மிமீ கொண்ட தயாரிப்புகளை நாங்கள் வழங்குகிறோம்.





அனைத்து சுற்று நிறுவல் மற்றும் பயன்பாட்டு வழிமுறைகள்
முத்திரைகளின் முழு செயல்திறனை உறுதி செய்வதற்கான முதல் முன்நிபந்தனை சரியான நிறுவல் என்பதை Rui Chen அறிந்திருக்கிறார், மேலும் ஒவ்வொரு தயாரிப்பின் பயன்பாடு குறித்த விரிவான வழிகாட்டுதலையும் வழங்குவோம், குறிப்பாக சிக்கலான அல்லது தரமற்ற தனிப்பயன் பாகங்கள், விரிவான கிராஃபிக் நிறுவல் வழிகாட்டி இருக்கும்.
இந்த வழிகாட்டிகளுடன் உயர்-வரையறை படி-படி-படி வரைபடங்கள் மற்றும் உரை வழிமுறைகள் உள்ளன, அவை நிறுவலுக்கு முன் ஆய்வு புள்ளிகள், சரியான நிறுவல் படிகள், தேவையான கருவிகள் மற்றும் எங்கள் பொறியாளர்கள் தளத்தில் இருப்பதைப் போல தவிர்க்க வேண்டிய தவறான செயல்பாடுகள் ஆகியவற்றை தெளிவாகக் காட்டுகிறது. கூடுதலாக, சிக்கலான அசெம்பிளிகள் அல்லது அமைப்புகளுக்கு, உங்கள் ஆபரேட்டர்கள் உள்ளுணர்வு மற்றும் விரைவாக நிறுவல் நுட்பங்கள் மற்றும் முன்னெச்சரிக்கைகளை டைனமிக் ஆர்ப்பாட்டங்கள் மூலம் தேர்ச்சி பெற அனுமதிக்கும் தொழில்முறை வீடியோ டுடோரியல்களை நாங்கள் உருவாக்குகிறோம்.
முகவரி
No.1 Ruichen Road, Dongliuting Industrial Park, Chengyang District, Qingdao City, Shandong Province, China
டெல்
மின்னஞ்சல்