|
அழுத்தம்/MPa |
வெப்பநிலை / °C |
வேகம் /m/s |
நடுத்தர |
|
≤40 |
-35~+100 (பொருத்தமான NBR ஓ-மோதிரங்களுடன்) |
≤2 |
ஹைட்ராலிக் எண்ணெய், குழம்பு, நீர், எரிவாயு போன்றவை. |
-20~+200 (பொருத்தமான O-வளையங்கள் FKM உடன்) |
1. பொருத்தமான O-வளையப் பொருட்களில் பின்வருவன அடங்கும்: R01 நைட்ரைல் புடடீன் ரப்பர் (NBR), R02 Fluororubber (FKM) போன்றவை.
2. சீல் வளைய பொருட்கள்: நிலையான பொருட்கள் PTFE3 மற்றும் PTFE4; பிற விருப்பப் பொருட்களில் PTFE1, PTFE2 மற்றும் PTFE5 ஆகியவை அடங்கும்.
Ruichen சுயாதீனமான ஆராய்ச்சி மற்றும் மேம்பாடு மற்றும் மூலப்பொருட்களின் தொடக்கத்தில் இருந்து உற்பத்தியை மேற்கொண்டது, தயாரிப்புகளின் முழு சங்கிலியின் கட்டுப்பாட்டை உணர்ந்தது.
1. பொறியியல் பிளாஸ்டிக் மற்றும் கலப்புப் பொருட்கள்: பாலிடெட்ராபுளோரோஎத்திலீன் (PTFE) ஐ மையமாக எடுத்துக்கொள்கிறோம், கலவை, சின்டரிங் முதல் மோல்டிங் வரை, அனைத்து வகையான நிரப்பப்பட்ட மாற்றியமைக்கப்பட்ட கலப்பு பொருட்கள் குழாய் மற்றும் கம்பியின் சுயாதீன உற்பத்தி, பின்னர் முத்திரைகளாக துல்லியமாக செயலாக்கம். இது பொருள் பண்புகளின் நிலைத்தன்மை மற்றும் தனிப்பயனாக்கத்தை உறுதி செய்கிறது.
2. உயர்-செயல்திறன் பாலியூரிதீன் எலாஸ்டோமர்: நாங்கள் ப்ரீபாலிமர் வார்ப்பிலிருந்து தொடங்கி, உயர்தர பாலியூரிதீன் குழாய் மற்றும் தடி பொருட்களை சுயாதீனமாக தயாரித்து, அவற்றை பல்வேறு வகையான முத்திரைகளாக செயலாக்குகிறோம், அவை உடைகள் எதிர்ப்பு, அழுத்தம் எதிர்ப்பு மற்றும் நீராற்பகுப்பு எதிர்ப்பில் சிறந்தவை.
வரிசைப்படுத்தும் எடுத்துக்காட்டு
ஆர்டரிங் மாடல் RC2054—80×69×4.2—PTFE3—R01 மாடல்-D*d*L- மெட்டீரியல் குறியீடு ஆர்டர் செய்யும் மாடல் RCX18—80×69x4.2—HPU மாடல்-D*d*L- மெட்டீரியல் குறியீடு
விவரக்குறிப்புகள் மற்றும் அளவுருக்கள் அட்டவணை (அளவுரு வரம்பிற்குள் ஏதேனும் விவரக்குறிப்புகள் கிடைக்கும்)
|
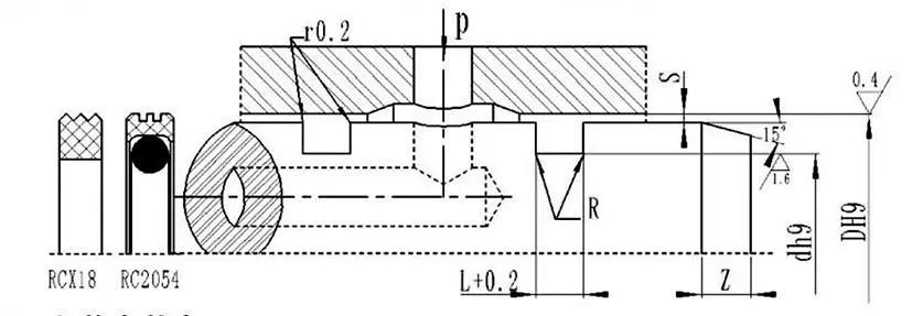
துளை வரம்பு DH9 |
அகழி விட்டம் dh9 |
அகழி அகலம் L+0.2 |
ரேடியல் கிளியரன்ஸ் ஸ்மாக்ஸ் |
வட்டமான மூலைகள் Rmax |
சேம்ஃபர் Zmin |
|
|
0~10 எம்பிஏ |
10~20 எம்பிஏ |
|||||
|
8~39 |
டி-4.9 |
2.2 |
0.15 |
0.1 |
0.4 |
2 |
|
40~79 |
டி-7.5 |
3.2 |
0.2 |
0.15 |
0.6 |
3 |
|
80~132 |
டி-11.0 |
4.2 |
0.25 |
0.2 |
1.0 |
4 |
|
133~329 |
டி-15.5 |
6.3 |
0.3 |
0.25 |
1.3 |
5 |
|
330~669 |
டி-21.0 |
8.1 |
0.3 |
0.25 |
1.8 |
7 |
|
670~1500 |
டி-28.0 |
9.5 |
0.45 |
0.3 |
2.0 |
8 |
|
D |
d |
L |
D |
d |
L |
D |
d |
L |
D |
d |
L |
|
8 |
3.1 |
2.2 |
50 |
42.5 |
3.2 |
170 |
154.5 |
6.3 |
380 |
359.0 |
8.1 |
|
10 |
5.1 |
2.2 |
55 |
47.5 |
3.2 |
180 |
164.5 |
6.3 |
390 |
369.0 |
8.1 |
|
12 |
7.1 |
2.2 |
60 |
52.5 |
3.2 |
190 |
174.5 |
6.3 |
400 |
379.0 |
8.1 |
|
14 |
9.1 |
2.2 |
63 |
55.5 |
3.2 |
200 |
184.5 |
6.3 |
420 |
399.0 |
8.1 |
|
15 |
10.1 |
2.2 |
65 |
57.5 |
3.2 |
210 |
194.5 |
6.3 |
450 |
429.0 |
8.1 |
|
16 |
11.1 |
2.2 |
70 |
62.5 |
3.2 |
220 |
204.5 |
6.3 |
480 |
459.0 |
8.1 |
|
18 |
13.1 |
2.2 |
75 |
67.5 |
3.2 |
230 |
214.5 |
6.3 |
500 |
479.0 |
8.1 |
|
20 |
15.1 |
2.2 |
80 |
69.0 |
4.2 |
240 |
224.5 |
6.3 |
520 |
499.0 |
8.1 |
|
22 |
17.1 |
2.2 |
85 |
74.0 |
4.2 |
250 |
234.5 |
6.3 |
550 |
529.0 |
8.1 |
|
24 |
19.1 |
2.2 |
90 |
79.0 |
4.2 |
260 |
244.5 |
6.3 |
600 |
579.0 |
8.1 |
|
25 |
20.1 |
2.2 |
95 |
84.0 |
4.2 |
270 |
254.5 |
6.3 |
630 |
609.0 |
8.1 |
|
28 |
23.1 |
2.2 |
100 |
89.0 |
4.2 |
280 |
264.5 |
6.3 |
650 |
629.0 |
8.1 |
|
30 |
25.1 |
2.2 |
105 |
94.0 |
4.2 |
290 |
274.5 |
6.3 |
670 |
642.0 |
9.5 |
|
32 |
27.1 |
2.2 |
110 |
99.0 |
4.2 |
300 |
284.5 |
6.3 |
700 |
672.0 |
9.5 |
|
35 |
30.1 |
2.2 |
115 |
104.0 |
4.2 |
310 |
294.5 |
6.3 |
750 |
722.0 |
9.5 |
|
36 |
31.1 |
2.2 |
120 |
109.0 |
4.2 |
320 |
304.5 |
6.3 |
800 |
772.0 |
9.5 |
|
38 |
33.1 |
2.2 |
125 |
114.0 |
4.2 |
330 |
309.0 |
8.1 |
1000 |
972.0 |
9.5 |
|
40 |
32.5 |
3.2 |
130 |
119.0 |
4.2 |
340 |
319.0 |
8.1 |
|
|
|
|
42 |
34.5 |
3.2 |
140 |
124.5 |
6.3 |
350 |
329.0 |
8.1 |
|
|
|
|
45 |
37.5 |
3.2 |
150 |
134.5 |
6.3 |
360 |
339.0 |
8.1 |
|
|
|
|
48 |
40.5 |
3.2 |
160 |
144.5 |
6.3 |
370 |
349.0 |
8.1 |
|
|
|
குறிப்பு: தேவையான விவரக்குறிப்புகள் இங்கே பட்டியலிடப்படவில்லை; தயவுசெய்து எங்கள் நிறுவனத்தை தொடர்பு கொள்ளவும். அதிகபட்ச விட்டம் 2800 மிமீ கொண்ட தயாரிப்புகளை நாங்கள் வழங்குகிறோம்.



முகவரி
No.1 Ruichen Road, Dongliuting Industrial Park, Chengyang District, Qingdao City, Shandong Province, China
டெல்
மின்னஞ்சல்