Qingdao Ruichen சீலிங் டெக்னாலஜி கோ., லிமிடெட்.
Qingdao Ruichen சீலிங் டெக்னாலஜி கோ., லிமிடெட்.
தயாரிப்புகள்
X

TC எண்ணெய் முத்திரைகள்

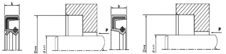
ரோட்டரி ஷாஃப்ட் லிப் முத்திரைகள், பொதுவாக எண்ணெய் முத்திரைகள் என்று அழைக்கப்படுகின்றன, அவை தாங்கி வீட்டில் நிறுவப்பட்டு, சுழலும் தண்டுடன் தொடர்புடையதாக நகரும். ஒரு உலோக எலும்புக்கூடு ஆதரவை வழங்குகிறது, மேலும் லூப்ரிகண்ட் கசிவு மற்றும் வெளிப்புற அசுத்தங்கள் ஊடுருவுவதைத் தடுக்க சீல் லிப் மீது ரேடியல் ப்ரீலோடைப் பயன்படுத்துகிறது.

நிறுவல் கட்டமைப்பு மற்றும் தேவைகள்

1. தண்டு பொருள்: பொதுவாக பயன்படுத்தப்படும் கார்பன் எஃகு மற்றும் துருப்பிடிக்காத எஃகு. அதிக வேகத்திற்கு, மேற்பரப்பில் குரோம் முலாம் பயன்படுத்தப்படுகிறது, HRC40-45.

2. சுழலும் தண்டு மற்றும் பள்ளங்களின் வடிவமைப்பு: தண்டு மேற்பரப்பு மென்மையாகவும் பர்ர் இல்லாததாகவும் இருக்க வேண்டும். சுழல் எந்திர மதிப்பெண்கள் ஒரு உந்தி விளைவை உருவாக்கலாம், இது கசிவுக்கு வழிவகுக்கும். ஆயில் சீல் பொருத்தும் பகுதியானது Ra0.1-0.5µm மேற்பரப்பு கடினத்தன்மைக்கு தரைமட்டமாக இருக்க பரிந்துரைக்கப்படுகிறது, மேலும் வேகம் அதிகரித்து மென்மையாக மாறும். எளிதாக நிறுவுதல் மற்றும் பிரித்தெடுப்பதற்கு, தண்டு மற்றும் பள்ளங்கள் அறைகள் அல்லது வட்டமான விளிம்புகளுடன் வடிவமைக்கப்பட வேண்டும், படம் 1 மற்றும் 2 ஐப் பார்க்கவும்.

சீல் உயரம்

b

b1(0.85xb)

மிமீ

b2(b+0.3)

மிமீ

r

அதிகபட்சம்

7

5.95

7.3

0.5

8

6.80

8.3

0.5

10

8.50

10.3

0.5

12

10.30

12.3

0.7

15

12.75

15.3

0.7

20

17.00

20.3

0.7

படம் 1. க்ரூவ் சேம்ஃபர் வடிவமைப்பு


d

d3

R

<10

d-1.5

2

10~20

d-2.0

2

20~30

d-2.5

3

30~40

d-3.0

3

40~50

d-3.5

4

50~70

d-4.0

4

70~95

d-4.5

5

95~130

d-5.5

6

130~240

d-7.0

8

240~500

d-11.0

12

500~800

d-14.0

14

800~1250

d-18.0

16

படம் 2 சுழலும் தண்டின் சேம்பர் வடிவமைப்பு


ரோட்டரி ஷாஃப்ட் லிப் சீல்களின் செயல்திறனை பாதிக்கும் காரணிகள் 

சீல் விளைவை பாதிக்கும் டஜன் கணக்கான காரணிகள் உள்ளன. எண்ணெய் முத்திரையைத் தவிர, அதன் பொருள் மற்றும் அமைப்பு, நடுத்தர, வெப்பநிலை, அழுத்தம், உயவு, வேகம் மற்றும் மேற்பரப்பு கடினத்தன்மை போன்ற பிற காரணிகளும் சீல் விளைவை நேரடியாக பாதிக்கின்றன, மேலும் இந்த காரணிகள் பெரும்பாலும் ஒருவருக்கொருவர் தொடர்பு கொள்கின்றன. பின்வரும் விளக்கப்படங்கள் பயனர் குறிப்புக்காக மட்டுமே.

படம் 3. எண்ணெய் முத்திரையில் வெப்பநிலையின் விளைவு


நிறுவல்: எண்ணெய் முத்திரைகளின் சரியான செயல்பாட்டிற்கு கவனமாக நிறுவல் ஒரு முன்நிபந்தனை.

நிறுவல் வரைபடம் (குழி நிறுவல்)

சரியான நிறுவல் முறை

பொருந்தக்கூடிய வேலை நிலைமைகள்

தவறான நிறுவல் முறை

எண்ணெய் முத்திரையின் இறுதி முகமும் குழியின் இறுதி முகமும் சிவப்பாக இருக்கும் போது மட்டுமே இந்த முறை பொருந்தும். அழுத்தும் கருவி விரைவாக செயல்படும் போது, ​​எண்ணெய் முத்திரை சரியாக நிலைநிறுத்தப்பட வேண்டும்; இல்லையெனில், தவறான அமைப்பு ஏற்படலாம்.

 

எண்ணெய் முத்திரையின் இறுதி முகம் குழியின் இறுதி முகத்தை விட குறைவாக இருக்கும் சூழ்நிலைகளுக்கு இந்த வடிவமைப்பு பொருத்தமானது. விரைவான அழுத்தத்துடன் கூட, எண்ணெய் முத்திரையை இன்னும் நன்றாக நிலைநிறுத்த முடியும். இருப்பினும், இந்த வகை பொருத்துதலில் ரேடியல் பொருத்துதல் இல்லை, எனவே அழுத்தும் சாதனத்தின் தட்டையான தட்டு மற்றும் அழுத்தத் தண்டு ஆகியவற்றின் அச்சு செங்குத்தாக ஒரு குறிப்பிட்ட துல்லியத்தை அடைய வேண்டும்.

எண்ணெய் முத்திரையின் இறுதி முகம் குழியின் இறுதி முகத்தை விட குறைவாக இருக்கும் சூழ்நிலைகளுக்கு இந்த முறை பொருத்தமானது. உபகரணங்களில் விரைவாக அழுத்தும் போது, ​​எண்ணெய் முத்திரை சரியாக நிலைநிறுத்தப்படுவதை உறுதி செய்வது முக்கியம்; இல்லையெனில், தவறான அமைப்பு ஏற்படலாம்.


 

 


இந்த முறை பராமரிப்பு அல்லது அழுத்த உபகரணங்கள் கிடைக்காத எளிய நிறுவல் நிலைமைகளுக்கு மட்டுமே பொருத்தமானது. நிறுவலின் போது முற்றிலும் சீரான அழுத்தத்தை அடைய முடியாது என்பதால், பல்வேறு நிறுவல் சிக்கல்கள் தவிர்க்க முடியாதவை. இது முதன்மையாக நிறுவலின் போது ரேடியல் தவறான அமைப்பைத் தடுக்க வடிவமைக்கப்பட்டுள்ளது, இது எண்ணெய் முத்திரையை சிதைக்கும், அல்லது நிறுவலின் போது இடைநிறுத்தங்கள் காரணமாக எண்ணெய் முத்திரை இனச்சேர்க்கை பகுதியின் (வெளி வட்டம்) ரப்பர் சேதத்தைத் தடுக்கும். எனவே, இந்த நிறுவல் முறை பொதுவாக பரிந்துரைக்கப்படவில்லை.

 

TC/SC/TB/SB எண்ணெய் முத்திரைகள்

இரண்டும் ஒரு உலோக சட்டகம், ஒரு நீரூற்று மற்றும் ஒரு ரப்பர் உடலைக் கொண்டிருக்கும். உலோக சட்டமானது ஆதரவை வழங்குகிறது, மேலும் வசந்தமானது சீல் லிப்க்கு ரேடியல் சக்தியைப் பயன்படுத்துகிறது. TC மற்றும் TB மாடல்கள் இரண்டும் தூசிப் புகாத துணை உதடுகளைக் கொண்டுள்ளன, ஒரு பக்கம் சீலிங் மீடியம் மற்றும் மறுபுறம் தூசி இருக்கும் பயன்பாடுகளுக்கு ஏற்றது. TB/SB மாதிரிகள் ஒரு உலோக வெளி வட்டத்தைக் கொண்டுள்ளன, இதனால் எண்ணெய் முத்திரை குழிக்குள் மிகவும் பாதுகாப்பானதாகவும் துல்லியமாகவும் இருக்கும். இருப்பினும், குறைந்த பாகுத்தன்மை மற்றும் வாயு ஊடகங்களுக்கு வெளி வட்டத்தின் சீல் திறன் வரையறுக்கப்பட்டுள்ளது; எனவே, நிறுவல் மற்றும் பயன்பாட்டின் போது வெளிப்புற வட்டத்திற்கு முத்திரை குத்த பயன்படும் மெழுகு போன்ற ஒரு வகை பொருள் பயன்படுத்த பரிந்துரைக்கப்படுகிறது.

குறுக்கு வெட்டு வடிவம்

மாதிரி

விண்ணப்பம்

அழுத்தம்

வெப்பநிலை

வேகம்

நடுத்தர

பொருள்

TC

சீல், தூசி எதிர்ப்பு

0.03MPa

-30~+160

20மீ/வி

மசகு எண்ணெய் மற்றும் கிரீஸ்

NBR/FKM + கார்பன் ஸ்டீல்

எஸ்சி

சீல் வைத்தல்

காசநோய்

சீல், தூசி எதிர்ப்பு

-30~+100

25மீ/வி

தண்ணீர், மசகு எண்ணெய், கிரீஸ்

NBR + கார்பன் ஸ்டீல்

எஸ்.பி

சீல் வைத்தல்

ஆர்டர் மாதிரி TC-d*D*b

விவரக்குறிப்பு

விவரக்குறிப்பு

விவரக்குறிப்பு

விவரக்குறிப்பு

விவரக்குறிப்பு

விவரக்குறிப்பு

விவரக்குறிப்பு

TC-6*17*3.5

TC-9*25*7

TC-10*30*7

TC-12*25*10

TC-13*25*7

TC-14*32*8

TC-15*30*7

TC-7*18*7

TC-10*18*7

TC-11*22*7

TC-12*26*7

TC-13*26*7

TC-14*32*10

TC-15*30*8

TC-8*18*7

TC-10*19*7

TC-I1*25*7

TC-12*28*7

TC-13*28*7

TC-14*35*7

TC-15*30*10

TC-8*20*7

TC-10*20*5

TC-11*30*10

TC-12*28*8

TC-13*30*8

TC-14*35*8

TC-15*32*7

TC-8*22*7

TC-10*20*7

TC-12*19*3

TC-12*30*7

TC-14*24*7

TC-14*40*7

TC-15*32*10

TC-8*22*8

TC-10*22*5

TC-12*20*7

TC-12*30*10

TC-14*25*7

TC-15*22*8

TC-15*35*7

TC-8*25*7

TC-10*22*7

TC-12*21*7

TC-12*32*7

TC-14*26*7

TC-15*24*7

TC-15*35*8

TC-8*25*8

TC-10*22*8

TC-12*22*5

TC-12*32*10

TC-14*27*7

TC-15*25*5

TC-15*35*10

TC-8*30*7

TC-10*22*10

TC-12*22.5*5.5

TC-12*35*7

TC-14*28*7

TC-15*25*7

TC-15*38*7

TC-9*16*5

TC-10*24*7

TC-12*22*7

TC-12*35*10

TC-14*28*8

TC-15*25*8

TC-15*38*8

TC-9*18*7

TC-10*25*5

TC-12*22*8

TC-12.7*22.22*5

TC-14*28*10

TC-15*26*7

TC-15*38*10

TC-9*19*7

TC-10*25*7

TC-12*24*6

TC-12.7*25.4*7

TC-14*29*7

TC-15*27*7

TC-15*40*8

TC-9*20*7

TC-10*25*10

TC-12*24*7

TC-12.7*26*8

TC-14*30*7

TC-15*27*8

TC-15*40*10

TC-9*22*7

TC-10*26*7

TC-12*25*7

TC-12.7*30*8

TC-14*30*10

TC-15*28*7

TC-15*42*7

TC-9*24*7

TC-10*28*7

TC-12*25*8

TC-13*23*7

TC-14*32*7

TC-15*28*10

TC-15*42*8

 




சூடான குறிச்சொற்கள்: TC எண்ணெய் முத்திரைகள்
விசாரணையை அனுப்பு
தொடர்பு தகவல்
  • முகவரி

    No.1 Ruichen Road, Dongliuting Industrial Park, Chengyang District, Qingdao City, Shandong Province, China

  • டெல்

    +86-532-82809839

  • மின்னஞ்சல்

    info.sealing@ruichenseal.com

போட்டி விலைகள், தொழில்நுட்ப ஆதரவு மற்றும் விரைவான பதில்களைப் பெறுங்கள். வடிவமைக்கப்பட்ட சீல் தீர்வுகளுக்காக உங்கள் விவரக்குறிப்புகளை ருய்சனுக்கு அனுப்பவும். இலவச மாதிரிகள் கிடைக்கின்றன.
செய்தி பரிந்துரைகள்
X
உங்களுக்கு சிறந்த உலாவல் அனுபவத்தை வழங்கவும், தள போக்குவரத்தை பகுப்பாய்வு செய்யவும் மற்றும் உள்ளடக்கத்தைத் தனிப்பயனாக்கவும் நாங்கள் குக்கீகளைப் பயன்படுத்துகிறோம். இந்தத் தளத்தைப் பயன்படுத்துவதன் மூலம், எங்கள் குக்கீகளைப் பயன்படுத்துவதை ஒப்புக்கொள்கிறீர்கள். தனியுரிமைக் கொள்கை
நிராகரிக்கவும் ஏற்றுக்கொள்